TC40A PIN
Original price
$30.20
-
Original price
$30.20
Original price
$30.20
$30.20
-
$30.20
Current price
$30.20
PIN
SKU SBA370900460
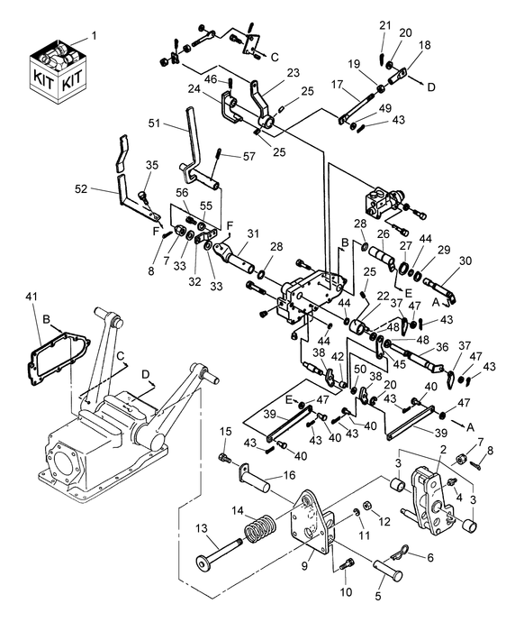
Diagram Reference Number: 13
Package Quantity: 1