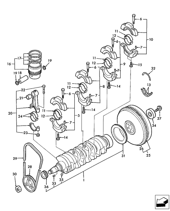
TC40A ENGINE FLYWHEEL
Original price
$964.80
-
Original price
$964.80
Original price
$964.80
$964.80
-
$964.80
Current price
$964.80
ENGINE FLYWHEEL
SKU SBA115357790
Diagram Reference Number: 25
Package Quantity: 1