TC33DA PIN
Original price
$98.50
-
Original price
$98.50
Original price
$98.50
$98.50
-
$98.50
Current price
$98.50
PIN
SKU SBA030509020
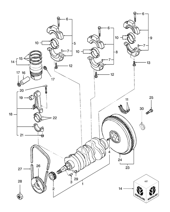
Diagram Reference Number: 29
Package Quantity: 10